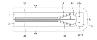
Penerus Samsung Galaxy Z Fold 4 adalah Z Fold 5. Rencananya ponsel layar lipat ini akan menggunakan tampilan desain dengan engsel layar lipat tetesan air. Biasanya layar lipat mudah sekali meninggalkan bekas lipatannya jika ponsel tersebut dibuka tutup. Nah, Samsung Galaxy Z Fold 5 rumornya akan menghilangkan bekas lipatan tersebut.
Pada Samsung Galaxy Z Fold 5 ini menggunakan mekanisme baru, jadi di bagian engsel lipatannya itu menggunakan desain seperti tetesan air guna mencegah munculnya lipatan pada engsel ponsel. Semakin ada perbaikan dan peningkatan dari sisi hardware. Tinggal menunggu spesifikasi apa saja yang akan dipakai oleh Samsung Galaxy Z Fold 5.
.jpg)
Tidak ada komentar:
Posting Komentar